电话:
17717438866
关于我们
关于我们
企业文化
产品与服务
解决方案
联系我们
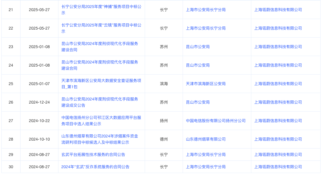
政府中标项目
知识产权
著作权
企业专利
商标信息
产品与服务
关于我们
联系我们
企业文化
政府中标项目
企业专利
著作权
商标信息
扫码完成支付